DOUBLE COMPRESSION CABLE GLANDS [FOR UN-ARMOURED CABLES]:
Double Compression Cable Glands for Un-armoured Cables are specially designed for un-armored and flexible cables, providing 2 nos. of environmental seal for the outer sheath of cables having a universal clamping range, allowing the cable to be easily disconnected from the equipment, for maintenance and change out, etc.
THIS IS THE NEW INVENTION OF THE ENTIRE RANGE. WE HAVE REGISTERED THIS DESIGN.
|
technical data:
|
|
| Type: | CGW (Double Compression) |
|---|---|
| Design Specification: | IEC 60529 [WEATHER-PROOF] |
| Threads Options: | E.T., NPT, METRIC & PG |
| Operating Temperature: | -30`C to + 100`C |
| Protection Class: | IP 66 [TESTED BY CIMER] |
| Gland Material: | Electro Nickel Plated Brass (general) Material options: Stainless steel, Mild steel & Aluminum Plating options: Chrome, Tin, Zinc |
| Seal Material: | Neoprene Rubber |
| Accessories (optional): | Shroud, Earth Tag, Blank plug, Adapter / Reducer, Entry Thread Seal |
Part Number Details:
|
|
![]() |
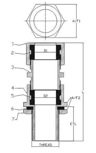
Cable Gland Selection Table:
(All dimensions except thread sizes are in M.M.)
Note:
Special / customized requirement will also be accepted.
| GLAND SIZE(Cat. No.) | D1 & D2 Crimping Range | THREADS | ETL | A/F 1 | A/F 2 |
|---|---|---|---|---|---|
| 3/8″(10 mm) | 09 – 06 | 5/8″ ET | 25.00 | 18.00 | 20.00 |
| 1/2″(12 mm) | 11 – 07 | 5/8″ ET | 25.00 | 18.00 | 20.00 |
| 5/8″(16 mm) | 12 – 08 | 3/4″ ET | 25.00 | 20.00 | 23.00 |
| 3/4″(19 mm) | 14 – 10 | 3/4″ ET | 25.00 | 23.00 | 23.00 |
| 7/8″(22 mm) | 17 – 13 | 1″ ET | 25.00 | 24.00 | 31.50 |
| 1″(25 mm) | 18 – 14 | 1″ ET | 25.00 | 25.50 | 31.50 |
| 1.1/8″(28 mm) | 21 – 16 | 1.1/8″ ET | 25.00 | 31.00 | 33.00 |
| 1.1/4″(32 mm) | 27 – 22 | 1.1/4″ ET | 25.00 | 36.00 | 39.00 |
| 1.3/8″ (35 mm) | 30 – 25 | 1.3/8″ ET | 25.00 | 39.50 | 42.00 |
| 1.1/2″ (38 mm) | 32 – 27 | 1.1/2″ ET | 25.00 | 42.50 | 46.00 |
| 1.3/4″ (45 mm) | 38 – 33 | 1.3/4″ ET | 25.00 | 50.00 | 54.00 |
| 2″ (50 mm) | 44 – 39 | 2″ ET | 25.00 | 56.50 | 59.00 |
| 2.1/4″ (57 mm) | 48 – 43 | 2.1/4″ ET | 25.00 | 61.00 | 66.00 |
| 2.1/2″ (63 mm) | 56 – 50 | 2.2/4″ ET | 25.00 | 67.00 | 74.50 |
| 2.3/4″ (70 mm) | 63 – 58 | 2.3/4″ ET | 25.00 | 74.50 | 82.50 |
| 3″ (75 mm) | 68 – 63 | 3″ ET | 25.00 | 82.50 | 92.50 |
| 3.1/4″ (82 mm) | 70 – 65 | 3.1/4″ET | 25.00 | 84.00 | 94.00 |
| 3.1/2″ (88 mm) | 77 – 72 | 3.1/2″ET | 25.00 | 92.50 | 102.00 |
| 4″ (100 mm) | 85 – 80 | 4″ ET | 25.00 | 102.00 | 115.00 |
*Dimensions are subject to be changed without any prior notice.

